コンテンツへスキップ

ヒトとテクノロジーのじっけん秘密基地

ROBOTEER(ロボティア)
  • じっけん基地
  • ヒトビト
  • 儲けばなし
  • データセンター
  • びっくりニュース

フランスの記事一覧

フランスを「最強のAI先進国に」マクロン大統領が宣言…研究施設誘致を推進

2018年4月3日
  • 人工知能(AI)
  • アメリカ
  • フランス
  • 中国

損傷を自ら修復する「自己再生型ソフトロボット」開発へ…特殊素材を活用

2017年12月5日
  • ロボット
  • アメリカ
  • スイス
  • ソフトロボット
  • フランス

ロボットは人に道を上手く譲れるか...仏大学がマナーを教える実験開始

2017年8月31日
  • ロボット
  • サービスロボット
  • フランス
  • 産業用ロボット

韓国NAVERが米ゼロックスの欧州AI研究拠点を買収...先端技術研究に拍車

2017年6月29日
  • 人工知能(AI)
  • AIアシスタント
  • アメリカ
  • コンピュータービジョン
  • フランス
  • マシンラーニング
  • 韓国

着水可能な防水仕様の「水上ドローン」ディオドン(Diodon)発売へ…

2017年4月12日
  • ドローン
  • フランス
  • ベンチャー

欧米で加速する「ロボット税」導入議論ビル・ゲイツも参戦

2017年3月2日
  • ロボット
  • フランス
  • ヨーロッパ
  • 自動化

同性婚の次はAI婚か…ロボットと恋に落ちた仏女性「結婚合法化されたら一緒になる」

2017年1月13日
  • 先端テック
  • カルチャー
  • フランス

フランス「ホビー用ドローン」販売台数が3倍に急増

2016年10月21日
  • ドローン
  • フランス
  • ホビー用ドローン

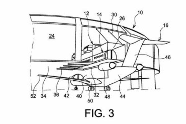
エアバスが飛行機とドッキングする待合室の特許を提出

2016年9月24日
  • ロボット
  • フランス
  • 特許

フランス人に何でも質問できる電話サービス・フレンチナンバー

2016年9月23日
  • 先端テック
  • カルチャー
  • フランス

投稿ナビゲーション

«前の記事 1 2

人気連載記事

  • ロボティアとは
  • 運営会社
  • 業務内容
  • お問い合わせ
  • About Roboteer(EN)
(C)ROBOTEER(ロボティア)